校本部图书馆 | 馆长信箱
  • 首页
  • 文献资源
  • 教学支持
  • 科研支持
  • 交流互动
  • 走进图书馆
  • 档案馆
  • 技术与创新支持中心
  • 技术与创新支持中心
    专利检索工具—壹专利数据库开通使用
    发布日期:2025-03-05   作者:   来源:07-图书馆   浏览:254

     为了更好地支持我校师生的科研创新和知识产权保护工作,图书馆2025年新增专利检索工具—壹专利数据库,欢迎广大师生访问使用。

    资源简介:

           壹专利是由奥凯公司开发的具有独立知识产权的检索分析软件。它囊括了全球超过171个国家、地区及组织的1.8亿条深加工专利数据,包含专利数据、法律状态数据、产业数据;每周更新2次,系统包含10大类检索方式和70+分析字段、20+图表类型自由组合生成个性可视化分析提供智能语义聚类深度分析;并提供专利文档辅助撰写工具、专利申请前评估工具、智能报告工具、可自建专利数据库。

    访问方式:

    1.校园网IP地址内,用PC端访问图书馆主页的“数据库导航”进入“已购数据库”,再进入“壹专利数据库”,或是浏览器直接输入网址https://www.patyee.com

    2.校园网外,电脑安装客户端VPN软件EasyConnect(下载网址https://vpn.cup.edu.cn),然后用学校统一身份认证个人账号/密码登录后找到“壹专利数据库”资源,点击链接访问。

    检索实例:

           壹专利数据库提供了6种检索入口,分别是:简单检索、高级检索、分类检索、法律状态检索、批量检索、国防解密专利检索。常用检索为简单检索。

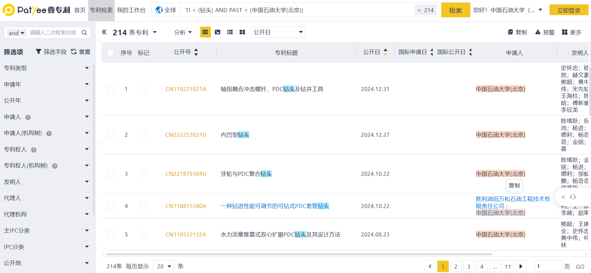
           钻头技术是我校的重要研究领域之一,其相关专利申请授权情况体现了我校在该领域的科研实力和创新成果。若想进一步了解我校在钻头技术领域的专利申请授权情况,可以通过简单检索功能并输入关键词来获取。

    1)选定关键词:钻头 中国石油大学(北京)

    2)当鼠标移动至简单检索框时,检索框下会出现常用字段的选择,我们可以利用标题字段去锁定“钻头”技术,利用申请人机构树字段去锁定中国石油大学(北京)相关专利。

    3)检索结果的输出与显示

    完成检索结果的调整和筛选后,可在检索结果页中开展专利的查看、保存和分析等操作。如:设置检索结果列表呈现样式、复制或者保存检索式、设置关注领域的专利更新提醒、导出与保存检索结果等。

    4)对检索结果进行分析

    壹专利提供仪表盘分析功能,可以打通检索、数据筛选与分析间壁垒,即时可见的分析图表,数据与图表的无缝切换,如同仪表盘精准协助用户,即时洞悉数据价值,导向精准检索式调整:支持70+分析字段、20+图表类型自由组合生成个性可视化分析;提供智能语义聚类深度分析。

    5)单件专利详览

    单击某条专利公开(公告)号或者标题,进入专利详情页面,从页面中可以了解到某件专利概况的权利保护范围技术要点、使用方法、同族专利、法律状态等内容。

    注意事项:

    请广大师生自觉遵守相关法律法规和学校规定,尊重知识产权,合理使用本校所有电子资源。